USZCZELKA OPADAJĄCA APPLIQUE ACOUSTIC 13x46 G=HF2 P=9B F=3F L=1030mm [>880mm], ANODYZOWANA SREBRNA
Uszczelka opadająca umieszczona w aluminiowym profilu, montowanym nawierzchniowo od boku skrzydła. Chroni przed przedostawaniem się kurzu, pyłu oraz innych drobnych zanieczyszczeń do wnętrza budynku / pomieszczenia, a także zapewnia izolację akustyczną do 50 dB.
Zobacz pełny opis| Producent: | CCE |
| Seria: | Applique Acoustic |
| Materiał | Aluminium |
| Wykończenie | Anodyzowane srebrne |
| Do drzwi | Przeciwpożarowych |
| Materiał drzwi | Szklane, Drewniane, Metalowe, PCV |
| Sposób montażu | Od boku skrzydła |
Uszczelka opadająca, aktywator, zaślepka.
Opis produktu
Uszczelka opadająca o długości 1030 mm z możliwością skrócenia maksymalnie o 150 mm. Umieszczona w aluminiowym profilu o wymiarach 13x46 mm w wykończeniu anodyzowanym srebrnym. Jest montowana na wkręty od boku skrzydła. Uszczelka chroni przed przedostawaniem się kurzu, pyłu oraz innych drobnych zanieczyszczeń do wnętrza budynku / pomieszczenia, a także zapewnia izolację akustyczną do 50 dB.
Zastosowanie
Uszczelka jest dedykowana do zastosowania w drzwiach dymoszczelnych i przeciwpożarowych.
Dokumenty techniczne
Przeprowadzone badanie potwierdziło izolacyjność akustyczną uszczelki 50 dB przy zachowaniu szczeliny drzwiowej wynoszącej 20 mm. Model Applique Acoustic został również przebadany w drzwiach przeciwpożarowych i otrzymał certyfikat UL. Trwałość uszczelki potwierdza test 200 000 cykli pracy.

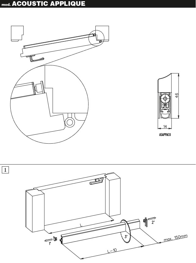
Montaż
Uszczelka jest montowana na wkręty od boku skrzydła. Sposób montażu prezentują poniższe grafiki.


Parametry techniczne
| Producent: | CCE |
| Seria: | Applique Acoustic |
| Materiał | Aluminium |
| Wykończenie | Anodyzowane srebrne |
| Do drzwi | Przeciwpożarowych |
| Materiał drzwi | Szklane, Drewniane, Metalowe, PCV |
| Sposób montażu | Od boku skrzydła |
| Wymiar profilu (mm) | 13x46 |
| Długość (mm) | 1030 |
| Wysuw max (mm) | 20 |
| Ogniotrwałość (min) | 60 |
| Dźwiękoszczelność (rw) | 47 |
Warianty produktu
USZCZELKA OPADAJĄCA APPLIQUE ACOUSTIC 13x46 G=HF2 P=9B F=3F L=1030mm [>880mm], ANODYZOWANA SREBRNA
USZCZELKA OPADAJĄCA APPLIQUE ACOUSTIC 13x46 G=HF2 P=9B F=3F L=830mm [>680mm], ANODYZOWANA SREBRNA
USZCZELKA OPADAJĄCA APPLIQUE ACOUSTIC 13x46 G=HF2 P=9B F=3F L=930mm [>780mm], ANODYZOWANA SREBRNA
USZCZELKA OPADAJĄCA APPLIQUE ACOUSTIC 13x46 G=HF2 P=9B F=3F L=1530mm [>1380mm], ANODYZOWANA SREBRNA
USZCZELKA OPADAJĄCA APPLIQUE ACOUSTIC 13x46 G=HF2 P=9B F=3F L=1130mm [>980mm], ANODYZOWANA SREBRNA
USZCZELKA OPADAJĄCA APPLIQUE ACOUSTIC 13x46 G=HF2 P=9B F=3F L=630mm [>480mm], ANODYZOWANA SREBRNA
USZCZELKA OPADAJĄCA APPLIQUE ACOUSTIC 13x46 G=HF2 P=9B F=3F L=1230mm [>1080mm], ANODYZOWANA SREBRNA
USZCZELKA OPADAJĄCA APPLIQUE ACOUSTIC 13x46 G=HF2 P=9B F=3F L=1330mm [>1180mm], ANODYZOWANA SREBRNA
USZCZELKA OPADAJĄCA APPLIQUE ACOUSTIC 13x46 G=HF2 P=9B F=3F L=1630mm [>1480mm], ANODYZOWANA SREBRNA
USZCZELKA OPADAJĄCA APPLIQUE ACOUSTIC 13x46 G=HF2 P=9B F=3F L=1730mm [>1580mm], ANODYZOWANA SREBRNA
USZCZELKA OPADAJĄCA APPLIQUE ACOUSTIC 13x46 G=HF2 P=9B F=3F L=330mm [>280mm], ANODYZOWANA SREBRNA
USZCZELKA OPADAJĄCA APPLIQUE ACOUSTIC 13x46 G=HF2 P=9B F=3F L=530mm [>380mm], ANODYZOWANA SREBRNA
USZCZELKA OPADAJĄCA APPLIQUE ACOUSTIC 13x46 G=HF2 P=9B F=3F L=1830mm [>1680mm], ANODYZOWANA SREBRNA
USZCZELKA OPADAJĄCA APPLIQUE ACOUSTIC 13x46 G=HF2 P=9B F=3F L=430mm [>295mm], ANODYZOWANA SREBRNA
Pliki do pobrania
Certyfikaty
Rozmiar pliku: 130 KB
Rozmiar pliku: 387 KB
Instrukcje montażu
Rozmiar pliku: 2 MB
Rysunki techniczne
Rozmiar pliku: 27 KB
C.C.E. (Costruzioni Chiusure Ermetiche Srl) to włoska firma założona w 1980 roku i specjalizująca się w produkcji uszczelek drzwiowych. Posiada w swoim asortymencie szeroki wybór modeli dedykowanych do drzwi wykonanych z różnych materiałów i spełniających rozmaite funkcje. Znajdziemy wśród nich między innymi uszczelki do drzwi przeciwpożarowych, antywłamaniowych, akustycznych, przesuwnych, pivotowych, wahadłowych i rozwiernych oraz progi drzwiowe i doszczelnienia bocznych krawędzi drzwi. Marka C.C.E. dba o wysoką jakość wytwarzanych produktów oraz dostosowuje je do zmieniających się wymagań rynku. Ponadto regularnie wprowadza na rynek innowacyjne rozwiązania takie jak na przykład uszczelki wyposażone w hydrauliczny mechanizm opóźnionego opadania. Dzięki jego zastosowaniu, uszczelki opadają kilka sekund po zamknięciu skrzydła, co wyklucza tarcie o podłoże i eliminuje dźwięki związane z ich pracą.